找回密码
 立即注册
搜索

0

0

收藏

分享

明星后代扎堆出道,娱乐圈要“世袭”了?

天眼查 · 昨天 18:47
星二代、星三代扎堆出道,娱乐圈也搞起“世袭”了?
有人风生水起:董璇女儿小酒窝,凭甜美长相和大方性格圈粉百万;小沈阳女儿沈佳润唱跳俱佳,被网友夸赞“远超内娱部分流量艺人”。
也有人开局被劝退:濮存昕外孙女因颜值问题,被网友劝“试试其他行业”;黄奕女儿更是因为父亲的贩毒罪行,遭到全网抵制。
拼爹拼妈拼外公,明星后代闯荡娱乐圈,靠谱吗?


01 星三代出道,被劝“试试其他行业”



继星二代扎堆出道之后,星三代也来了。
12月5日,著名演员濮存昕发文支持外孙女的首部荧幕作品开播。
他表示:“外孙女首次参加的荧屏作品《掌上齐眉》开播,虽然只是参与一点点戏份,但是她说很开心,人生一次美好的记忆给她点赞!”
1.png

但没想到,评论区的画风却有些扎心:“360行,试一试其他的行业。”“支持她做点其他的事业不行吗?”“这种颜值真的不太适合娱乐圈。”
2.png

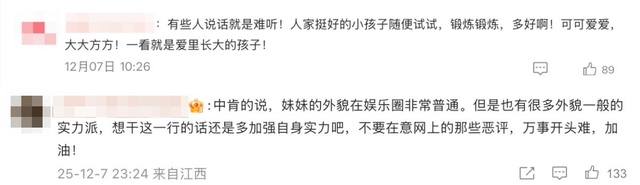
也有人暖心鼓励:“小孩子随便试试,锻炼锻炼,多好啊!”“不要在意网上的恶评,万事开头难。”
3.png

12月9日,剧方发文回应:“老一辈艺术家的鼓励与认可,是新一辈对表演的纯粹热爱的温暖土壤。”同时,剧方呼吁“一起守护这份初绽的美好!”
4.png

无独有偶,12月9日,演员聂远也发文为女儿聂子一的新戏《风与潮》宣传:“遥祝聂子一老师新剧开播。”
5.png

据悉,聂子一现年11岁,已参演《暗夜与黎明》《风与潮》《临江仙》等多部电视剧。
6.png



据媒体报道,聂子一在剧中饰演疍家女孩小渔,赤脚踩船、眼神倔强的表演片段引发关注,获得不少好评。
7.png

今年以来,星二代的热度不断。
董璇的女儿小酒窝才9岁,不仅出演电影、电视剧,还亮相各大晚会,甚至和佟丽娅的儿子“炒起了CP”。
近日,伊能静的儿子恩利在综艺中首秀。邵兵儿子邵子恒亮相了《一路繁花2》,和刘晓庆、刘嘉玲一起旅游。
8.png

此外,陈奕迅女儿陈康堤、苏见信的女儿苏祐婕、钟镇涛的女儿钟懿作为歌手出道……
去年,梅婷的女儿曾慕梅也已经在电影《好东西》中崭露头角。
9.png

这让不少人产生疑问:“演员界也已经形成门阀了?”“娱乐圈都要世袭了?”
10.png



02 有人成“团宠”,有人遭全网抵制



星二代们扎堆出道,有人欢喜有人愁。
早在去年,董璇女儿小酒窝就因参演爆剧《墨雨云间》收获一众好评。
11.png

今年又频繁参加综艺、晚会,因甜美外形、大方举止而广受喜爱,被网友称为“团宠”。
截至12月8日17点,小酒窝的社交账号以212.5万的粉丝,超过了董璇。
12.png

今年6月,小沈阳的女儿沈佳润在韩国正式出道,8月推出中文版歌曲《美美Sunday》,引得众多明星跟唱,歌词“美美桑内,一个劲儿的叭叭”火遍全网。
13.jpeg

沈佳润本人也因全开麦唱跳、舞蹈动作精准、台风得当,被网友称赞“远超内娱部分流量艺人”,甚至有人表示,“真的想跟小沈阳抢闺女”。
14.png

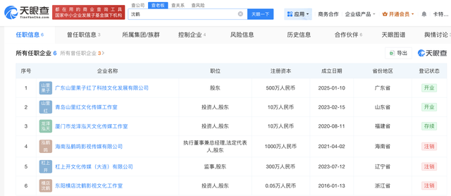
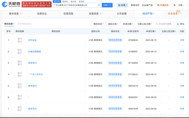
天眼查显示,小沈阳(原名沈鹤)和妻子沈春扬控股的企业【广东山里果子红了科技文化发展有限公司】,申请了“一个劲儿的叭叭”“美美桑内”“美美茶内”等多枚商标,目前均处于实质审查阶段。
15.png

据传,小沈阳在韩国成立了经纪公司支持女儿出道。
天眼查显示,小沈阳名下关联了6家企业,其中3家为开业/存续状态。
16.png

其妻子沈春扬名下关联了8家企业,3家为存续状态。
其中,【杭州星馔传媒有限公司】成立仅1个月,经营范围包括组织文化艺术交流活动、文艺创作、文化娱乐经纪人服务等。
17.png

然而,并非所有星二代的出道之路都一帆风顺。
今年7月,黄奕发视频透露女儿黄芊玲想去韩国当练习生。8月,她又发布女儿在韩国练习唱跳的视频。不料,因生父黄毅清曾贩卖毒品被判刑15年,黄芊玲遭到大批网友抵制,话题#黄奕女儿被网友抗议出道#也登上微博热搜榜。
18.jpeg

同时,此事也引发了网友对于“毒贩子女能否进入娱乐圈”的辩论。
19.png

黄奕曾发文回应,“只是喜欢,没有出道,感谢善意,停止伤害。”
20.jpeg

8月初,她在直播中谈起女儿出道的争议时又提到:“他(黄毅清)贩毒也跟我们没关系,我们也已经离婚了好吗。”
21.png

天眼妹看到,黄毅清名下关联4家公司,其中2家为存续状态,这些企业中都没有黄奕的身影,此外,两人也没有直接商业联系。
22.png

23.jpeg

你如何看待星二代、星三代们扎堆出道的现象?

内容来源于猛犸象新闻头条网友投稿

使用道具 举报

您需要登录后才可以回帖 立即登录